Этап 4. Установка секционных ворот
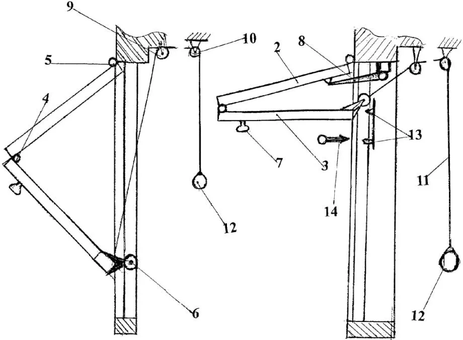
Основные точки крепления накладных вертикальных направляющих и крепления кронштейна под торсионный механизм
Шаг 1. Вначале удаляется или укрепляется все непрочное покрытие. Проверяется горизонтальность пола (допустимая погрешность в этом случае – всего 1 мм). Если все в порядке, можно начинать подготовку панелей к установке. Нужно помнить, что такие ворота стоят достаточно дорого, поэтому с полотном следует обращаться с предельной аккуратностью, чтобы случайно не повредить.
Шаг 2. Далее наносится разметка для крепления направляющих. Первыми фиксируются вертикальные профили – они крепятся на стене посредством монтажных саморезов (такие отличаются длинной ножкой). Затем, ориентируясь на вертикальные профили, фиксируются горизонтальные направляющие
Важно, чтобы «рельсы» располагались строго под прямым углом по отношению друг к другу, иначе полотно не сможет подняться
Крепеж горизонтальный направляющихКрепеж горизонтальный направляющихКрепеж горизонтальный направляющих
Шаг 3. Далее собираются панели (если не были приобретены готовые ворота). При этом нужно тщательно все замеривать, т. к. секционные ворота, как упоминалось выше, перекосов не терпят. Если таковые все же образовались, то для выравнивания нельзя использовать дощечки разного размера или монтажную пену, в противном случае размеры конструкции в дальнейшем будут нарушены.
Вместо них лучше использовать железные прокладки разной толщины.
Шаг 4. Затем крепятся элементы управления и подъемный механизм. Проверяется точность всех измерений.
Перед началом монтажных работ следует ознакомиться с инструкцией производителя. Многие фирмы (такие как «Алютех», «Хормане» или «Дорхан) пошагово описывают установку конструкции. Особенности монтажных работ могут отличаться в зависимости от производителя, но в целом это несложная процедура.
Монтаж полотна
Шаг 5. По окончании установки панелей фиксируются дополнительные элементы (замок, петли и ручки)
Замку следует уделить особое внимание – он обязательно должен быть качественным, т. к
предназначен для защиты имущества
предназначен для защиты имущества.
Улавливающее устройство секционных ворот HormannМонтаж дополнительных элементовРучки секционных ворот
Шаг 6. Устанавливаются пружины, которые отвечают за открывание/закрывание ворот. На финальном этапе работы фиксируются ограничители, необходимые для ограничения движения полотна.
ПружинаМеханическая система защиты от обрыва пружины
Электропривод воротУстановка автоматикиРазблокировка электропривода изнутри помещения
При должном подходе и правильных расчетах установка ворот занимает максимум один день.
Установка полотна
Конструктивные особенности
Секционные ворота для гаража своими руками собрать не очень сложно. Главное – разобраться в конструктивных особенностях воротной части и сопутствующих элементов. Принцип работы здесь такой:
- смещение полотна осуществляется по полозьям посредством колесиков;
- чтобы компенсировать «дверную» тяжесть, используется противовес с тросовым соединением к полотну;
- гибкость «двери» обеспечивается с помощью соединения отдельных секций обычными петлями.
Можно, конечно, дополнить конструкцию электротехническими элементами, устроить радиоуправление. В любом случае есть минимальный набор составных частей и он не меняется. Практически все модификации подъемных секционных ворот (своими руками собираются или специалистами) подразумевают запуск полотна под потолок, что в моем случае оказалось непрактичным решением. Из-за небольшой высоты радиус изогнутой пары полозьев получается слишком маленьким.
Тогда мне пришло в голову вынести «дверь» наружу. Это оказалось интересным вариантом еще и потому, что при въезде образовывается хороший козырек из двух секций.

Он отлично справляется с дождем, когда я в гараже и свет не сильно загораживает.
Небольшое отступление
Иногда может потребоваться уплотнение стыков подъёмных ворот. Для этих целей используется специальная эластичная пена, внутри которой образуется минимум пузырьков. Она наносится на угол получившегося косяка, а край самих створок проклеивается скотчем, после чего ворота закрываются. После высыхания пены излишки нужно будет удалить.
Готовый шов после удаления излишков ФОТО: atvarmor.ru
Для подобной работы подойдёт не всякая монтажная пена. На примере ниже можно увидеть 2 варианта этого материала. Левый для уплотнения использовать не стоит – очень быстро рассыплется. А вот правый баллон как раз и является подходящим.
Правый баллон с эластичной пеной именно тот, который требуется для уплотнения ФОТО: atvarmor.ru
После высыхания пены нужно лишь толкнуть створки и, открыв их, удалить скотч.
Вот такой шов получается после уплотнения ФОТО: atvarmor.ru
Разновидности подъёмных ворот
На сегодняшний день подъёмные ворота стали обычным делом и встречаются очень часто. Их основным преимуществом является невероятная функциональность и комфортабельность использования.
Благодаря своей компактности они отлично подходят для любых типов гаражей и дворов, могут работать в ограниченном пространстве и отлично экономят вам время и силы при открывании. На сегодня существуют такие виды подъёмных ворота:
Подъёмно-секционные
Основное полотно состоит из панелей, который собраны в единую не жёсткую конструкцию и способны изгибаться по мере поднятия и выравниваются в жёсткое полотно в закрытом состоянии.
Ворота подьемные секционного типа
Подъемно-поворотные
Передняя панель цельная и абсолютно не поддаётся деформации. Подъём такой конструкции происходит по изогнутой траектории, верхняя часть немного углубляется внутрь гаража, примерно на тридцать процентов от всего высота, а нижняя выходит наружу, оставшимся отрезком.
Подбирать ту или иную разновидность следует учитывая ваши предпочтения и особенности самого гаража, а также количество свободного пространства рядом с въездом. Также учитывайте и стоимость, а также сложность самостоятельного монтажа, так как оба этих параметра будут отличаться у каждого из видов.
Самый распространенный вариант гаражных ворот на данный момент — ворота для гаража подъемно поворотные.
Далее, в статье вы узнаете, как сделать подъёмные ворота своими руками, но прежде вам необходимо узнать конструкцию подъемно-поворотных ворот. Состоят они из рамы, которая надёжно закреплена в гаражном проёме, самого воротного полотна и механизма, который осуществляет движение.
Верхний край закреплён на двух рейках по которым и движется на роликах примерно на высоте двух третьих от нижнего края закреплены боковые ролики, которые движутся по боковым рекам. В движение всю систему приводят один или два привода, или в крайнем случае это ручное открывание ворот.
Изготовление и установка
В данном разделе рассмотрим вопрос: как сделать гаражные ворота? и как смонтировать подъемный механизм. При этом не будет рассматриваться вариант секционных ворот. Это связано с их высокой стоимостью, низкой надежностью, а кроме того регулировка секционных ворот (составных) очень сложна
Важно отметить, что, установка секционных ворот своими руками (поворотно-рычажного типа) практически невозможна — нужен помощник
Самым оптимальным и простым вариантом будет механизм противовесов. В этом случае трос крепиться к раме (по нижним углам), пропускается через неподвижный блок и идет к лебедке с противовесом. Масса противовеса зависит от массы ворот — с ростом массы ворот увеличивают массу противовеса. Такой механизм прост и удобен в эксплуатации.

Из вертикального бруса и поперечного собирается коробка, соединение бруса должно быть выполнено металлическими уголками. Коробку следует заглубить в пол на пару сантиметров (прямо в стяжку). Далее брусья крепятся к стене при помощи арматуры.
Следующим этапом собирают раму под щит, которую сразу же и обшивают деревом, обивают металлом.
Когда щит готов, примерно стоит оценить его массу, начать монтаж секционных ворот и перейти к изготовлению механизма подъема. Для этого ставятся опоры из уголков, к опорам крепят швеллер, дополнительно его следует закрепить и к стойкам. Далее сверлят отверстия для монтажа пружинного механизма (потребуется три отверстия на одной из полок кронштейна).
Далее изготавливается регулировочная пластина из металлической полосы, которая соединит пружину с кронштейном. Перед установкой пружины необходимо сделать регулятор напряжения из арматуры (или прута).
Угол шарнира для нижней части изготавливается из уголка. Для этого сверлиться отверстие 8-9 мм и уголок приваривается к раме таким образом, чтобы был отступ от нижних ребер до середины отверстия для того, чтобы свободно установить рычаг для подъемного механизма. После этого приваривается пластина для крепления регулятора напряжения пружины.
В процессе выполнения монтажа необходимо тщательно контролировать уровень направляющих — он не должен отклоняться от оси. Последний этап — на механизм подъема навешивается щит. После чего устанавливается нижний уплотнитель и боковой уплотнитель, ворота регулируются по месту.
История появления ворот секционного типа
В 1950-х годах были изобретены секционные ворота, в тени популярных моделей их никто не замечал, только спустя 30 лет наметился рост популярности, и сейчас секционки занимают лидирующие позиции.
Причинами такой востребованности являются следующие факторы:
- Они практически не занимают пространства.
- Высокая прочность.
- Надежность.
- Внешний вид.
Единственный минус секционок – их высокая стоимость. Можно сделать секционные ворота по чертежам самостоятельно, существенно сэкономив при этом. Они ничем не будут отличаться от тех, которые вы купите в магазине или закажете по индивидуальным замерам.
Типы подъема
Как же выбрать тип? Он зависит от высоты притолоки. Стандартный тип подъема является самым бюджетным и монтируется при высоте притолоки 35-60 сантиметров. Пониженный тип используется, когда высота притолоки от 15-35 сантиметров. В этом случае проем открытого гаража несколько перекрывает последняя секция ворот. При таком подъеме барабан может крепиться сзади или спереди, используется стандартный торсионный механизм.
Высокий тип используется, когда высота притолоки больше 60 сантиметров. В этом случае стоимость ворот увеличивается, поскольку используются более крупные пружины и барабан, усложняется монтаж. Наклонный тип. В этом случае потолок ниже в передней части гаража, и повышается к задней стенке.
При такой особенности гаража лучше выбрать другой тип ворот, поскольку никто не гарантирует стабильную работу конструкции. Вертикальный подъем. Он дороже стандартного и ставится, если изделия в сборе не весят более 1 тонны. Пружина может устанавливаться вверху или внизу гаражного проема.
В конструкции, для подъема полотна, используется сила натяжения пружин. Есть варианты с пружинами растяжения, которые устанавливаются в боковых стойках, они растягиваются при поднимании ворот. Другой механизм — торсионные пружины, которые находятся вверху конструкции. Этот вид более сложный, но надежнее и долговечнее первого варианта. Способов подъема ворот два: механический и автоматический.
Механизированный
Конструкция с механическим приводом значительно дешевле автоматической; удобные ручки для закрывания ворот расположены внутри и снаружи гаража. Ручные секционные ворота, при минимуме инженерных знаний, можно установить самостоятельно. Периметр такого изделия оборудуется уплотнителем из резины, обеспечивающим герметизацию конструкции. Недостатком является необходимость вручную открывать их при морозе и непогоде.
Автоматический
Для работы секционных ворот используется потолочный или навальный привод. Навальный привод можно наблюдать обычно в складских помещениях, на промышленных предприятиях, в гаражах большой площади. Ему необходимо много места для размещения и большее количество энергии.
Автоматический привод способен работать при помощи: смартфона, пульта, брелока, настенных выключателей и кнопок, компьютера и кодового замка. Автоматика предполагает возможность управления системой, не выходя из машины. Сегодня есть возможность выбрать бюджетный вариант оборудования, не потеряв в качестве.
Основные виды подъёмных ворот

Конструкция гаражных ворот подъемного типа легко и просто выполняет свое основное назначение, кроме того, она обладает рядом важных достоинств, перед иными разновидностями въездных конструкций.
Достоинства:
- нет необходимости оставлять отдельное место для створок, полотно просто уходит в специальное место, обустроенную под потолком;
- система отличается целостностью, потому полностью защищает от незаконного проникновения злоумышленников;
- чтобы вся система идеально вписалась в существующий интерьер, могут применяться разные виды отделки;
- систему разрешается утеплять пенополистиролом, для того, чтобы не пустить внутрь холод, сберечь тепло;
- можно оснастить систему оборудованием для автоматического управления;
- разрешено применять гаражах для одной или нескольких машин.
- возможность проведения установочных работ только в проемах, имеющих форму прямоугольника;
- поломка части или всего цельного полотна требует его полной замены, небольшой ремонт здесь невозможен;
- нахождение створки в открытом виде, снижает уровень высоты проема;
- механизм выдерживает определенный уровень нагрузки, то нужно учитывать, собираясь утеплять конструкцию;
- монтаж не отличается особенной простотой.
Подъёмно-секционные

Подъемно складные ворота напоминают своим внешним видом рулонные, единственным отличием является размер секций. У подобного устройства они могут варьироваться в пределах 30-50см, двигаются по заранее зафиксированным направляющим рельсам. Между собой эти элементы соединяются креплениями подвижного вида.
Секционные ворота не могут быть установлены, если под потолком нет места, куда будет подниматься полотно.
Подъёмно-поворотные

Подъемно-поворотная разновидность – это цельное полотно, что крепится на специальной раме. Она движется вручную, либо под воздействием электрического привода.
Такие ворота обладают важными достоинствами:
- высокая прочность;
- простота;
- стойкость к взлому.
Раму делают из металлопрофиля, она не переклинивает, не перекашивается. Эти модели отличаются бюджетностью, легко монтируются собственными руками. Главное, правильно рассчитать достаточный вес полотна, чтобы механизм легко справлялся со своей работой.
Выбор материала
Необходимо приобрести элементы ворот в гараж согласно спецификации. Для секций часто выбирают металлические или сэндвич панели, реже – рейки из дерева.
Снизу секционное полотно должно закрываться профилем. По бокам он закрыт накладками, которые придают жесткость и защищают торец ворот от влияния внешнего мира. В виде направляющего профиля применяют швеллеры из металла, а в виде угловых вертикальных профилей берут уголки.
Кронштейны также изготовляются из металлопрофиля. Чтобы сделать подъемный механизм, необходимо приобрести следующие детали: вал, трос, пружину и пружинные наконечники, барабан, подвес, соединительную муфту.

Особенности установки гаражных ворот своими руками
Секционные ворота состоят из секций, соединяющихся петлями. По краям проема прикреплены шины, которые заходят под перекрытие. Именно по ним движутся секции. Когда гараж открывается, они, сворачиваясь, размещаются вверху.
Панели можно выбрать на вкус автолюбителя, но желательно прочесть перед приобретением отзывы. Как рисунок, так и цвет бывают очень разнообразными. Заводы, которые их изготавливают, предлагают множество вариантов. Полимерное покрытие надежно защищает их от нежелательного воздействия коррозии. Секционные ворота оборудованы специальными панелями термоизоляции. Поэтому они хорошо и бесшумно работают при любой температуре – от -50 до +60 градусов.
Существуют некоторые правила, которых желательно придерживаться при установке секционных гаражных ворот:
- При работе пользоваться специальными чертежами;
- Работать с качественными материалами, и только заводского производства;
- Максимально точно вычислить размеры;
- Внимательно размещать детали, стараться это делать точно и правильно.
Приступая к монтажу своими руками, нужно понимать, что этот процесс потребует много сил и терпения. Одному человеку с такой работой справиться не под силу. Поэтому на помощь можно позвать друзей, желательно тех, кто в подобной работе неплохо разбирается. Ведь даже пользуясь инструкцией, одному человеку будет невероятно сложно определить размеры и составить чертежи правильно.
Не следует забывать и об осторожности. В безопасности можно будет себя чувствовать, только надев на голову шлем, а на руки перчатки
И обязательно нужно защитить глаза.
Для этого можно использовать специальные очки. Перед работой нужно проверить наличие гаечных ключей, отверток разных видов, молотка, уровня, дрели и рулетки.
Разновидности конструкции
Современные секционные ворота подойдут для помещений всех типов.
Варианты ворот
Конструкции вертикального подъема
Предназначаются для гаражей с большой высотой подъема. Продаются исключительно в строительных гипермаркетах и отличаются тем, что занимают минимальное пространство при установке.
Конструкции высокого подъема
Такие ворота стоят дороже и используются там, где небольшая высота не позволяет выполнить вертикальное поднятие полотна. Высокая цена объясняется применением подвесных кронштейнов, специальных направляющих и большого количества расходных материалов.
Конструкции стандартного подъема
Используются в помещениях, которые полностью готовы к установке, с минимальной высотой притолоки минимум 18 см. Все элементы выполняются из нержавеющей стали. Самый простой и удобный вариант, оттого наиболее популярный.
Конструкции низкого подъема
Низкоподъемные ворота целесообразны в условиях ограниченной высоты проема (притолоки). К потолку крепятся контрольные элементы и торсионные пружины, и если он низкий, то весь аппарат фиксируется на тыльной части направляющих. Если говорить более конкретно, то такой аппарат состоит из:
- торсионного вала;
- наматывающих шкивов;
- балансировочных пружин.
После выбора подходящей конструкции можно приступать к подготовительным работам.
Подъемные ворота для гаража пошагово по чертежам и схемам
Изготовление рамы
Первым делом необходимо сделать раму, являющейся основной частью для удержания всей конструкции. Изготавливать ее лучше еще с момента строительства стен. Начинать можно после возведения примерно половины объема гаража. После прерваться, выполнить рамку для гаражных ворот своими руками и продолжить строить дальше.
» alt=»»>
Придется потратиться на приобретение необходимых частей для ворот, но это намного дешевле, чем приобретать готовую конструкцию у мастеров. Состоит рамка из двух частей, располагаемых внутри и снаружи объекта. Действовать следующим образом:
1.С помощью болгарки режется уголок, по длине равный ширине ворот – 4 части. Далее отрезается 4 отрезка, равные высоте воротного отверстия. Делать можно как с небольшим запасом, так и вровень.
Процесс изготовления рамки
2.Уголки укладываются на ровную плоскость, проверяется все это с помощью уровня. Углы устанавливаются строго по 90 о .
3.Свариваются уголки, чтобы вышла цельная рамка.
Сваривание рамки
4. Все остатки после сварочных работ удаляются с помощью шлифования. Наружная сторона должна быть идеально ровной.
» alt=»»>
Этап 1. Подготовка оборудования
Распашные ворота

Это – самый недорогой и простой по конструкции тип. Две или одна створки распахиваются для открытия гаража. Для изготовления нужна профильная труба или другой стальной профиль, уголки для фиксации стальные и металлический лист для полотна ворот.
Порядок работы:
- Вымеряйте проем очень точно.
- Найдите большую ровную поверхность подходящего размера (с помощью уровня проверьте ее горизонтальное расположение). Разложите готовые уголки для будущей рамы.
- Измерьте диагонали. Они должны быть равны. Из профиля и сварочных уголков сварите обрешетку для ворот. Нужно два комплекта рамы, которые затем свариваются между собой
- Два полотна (для распашных ворот) вырезается из металлического листа 3 мм толщиной. Одна из створок (правая) должна быть на 2 — 3 см шире левой. Это делается, чтобы створки накладывались одна на другую. Затем листы привариваются к каркасу. Часто предусматриваются ребра жесткости по диагонали или поперек.
- Силовые петли – важная часть распашных ворот. Верхняя часть петли должна быть приварена к металлическому полотну, а нижняя – к раме гаража. Сварочное крепление следует усилить металлической полоской в 10 мм. Для укрепления связи внутри используйте вкладки из арматуры.
- Изнутри приварите засов. Он по-прежнему отлично помогает от воров. Можно становить засов из вертикальных штырей, входящих в землю и верхнюю часть дверного проема.
- Пред установкой все элементы ворот загрунтуйте и покрасьте.
Установка опор
Рассмотрим более подробно процесс установки опор. Так как на данном этапе именно они занимают главнейший этап производства. Их параметры гарантируют надежность и устойчивость конструкции, которая к тому же прослужит долговечным образом.


Динамическая направленность на нагрузку труб также требует определенной глубины установки конструкции. Для их установки применяются следующие инструменты и материалы:
- Кирпичный камень;
- Деревянный материал;
- Стальной лист;
- Трубы, не превышающие диаметр 20х30 мм;

Процесс установки следующий:
- Готовятся столбы: из трубы-стойки необходимой длины.
- Создается яма, диаметр которой в два раза больше диаметра будущей опоры, а глубина достигает уровня промерзания почвы. Необходимо знать: вдруг в установленном месте установки объекта почва будет подвержена промерзанию, в таком случае установка котлована будет не более2 метров.
- На дно котлована насыпается подушка из песка и гравия. Его высота должна быть 20 см.
- В яме устанавливаются столбы, к которым предварительно приваривается стальной прямоугольный лист размером 30х30 см.
- Стойки покрыты облицовочным материалом, который предотвратит попадание атмосферных осадков. Для этого можно использовать: кирпич, дерево или камень.
- Земля вокруг будущих опор заливается водой и уплотняется. Это предотвращает растрескивание бетона после заливки.
- После этого их заливают смесью песка и цемента, в результате чего фиксируют столбы.
- Кроме того, как минимум в течение недели бетон имеет возможность хорошо схватиться.






Монтаж ворот
Ранее залитый состав бетона требует застывания; веществу понадобится как минимум 4 недели, чтобы получить нужную прочность.

Правило «семь раз отмерить» наиболее уместно, так как гаражные ворота лучше смонтировать для пробного испытания. Обязательные требования таковы: прочность конструкции, выровненные стороны, отсутствие препятствий для открывания (закрывания), исключение шума, а также герметичность створок при закрывании.

Установка затворов
Этот шаг является одним из элементарных. Непосредственными замками могут быть как навесные, так и запорные варианты.

В ходе зимней эксплуатации не исключаются проблемы вроде низких температур воздуха
Классические цилиндры у большинства замковых механизмов славятся неважной функциональностью; «круглосуточным» гаражам они не подойдут.

Автоматизация
Подобный шаг не считается обязательным; всё зависит от того, захочет ли владелец постройки усилить «охранные» меры.
- В большинстве автоматизированных ворот используются системы электрического привода.
- Мощность узла должна соответствовать усилиям, прилагаемым на створки. Чем больше она удовлетворяет этому критерию, тем выше «срок годности» агрегата.
- Наиболее дешёвыми вариантами выступают линейные «автоматы»: приобретение и установка не оборачиваются существенными затратами.

Утепление ворот
Такая мера необходима для гаражей, расположенных в северных широтах. Ворота обычно обшиваются изнутри, а среди материалов наибольшее предпочтение отдаётся минеральной или стеклянной вате, а также полимерам.


После завершения работы следует обшивать внутреннюю сторону ворот вагонкой или фанерой. Монтажная пена выручит при избытке щелей. Средние значения толщины варьируются в зависимости от характера климата: для северных районов — 15 сантиметров, для южных — 5.

Финишная отделка
Финальная процедура предусматривает нанесение краски (валик или кисточка в помощь). Она защищает металлические ворота от ржавчины, увеличивая срок службы изделия. Разумеется, очистка от грязи и обезжиривание поверхности обязательны перед покраской. По завершению второго следует нанести грунтовку в 1-2 слоя.






Как сделать подъемные ворота своими руками
Конструкция данных ворот довольно проста, и многие владельцы гаражей решаются на изготовление подъемных ворот для гаража своими руками, используя чертежи. Весь процесс состоит из одного подготовительного и нескольких основных этапов:
- подготовка чертежей, материалов и инструментов;
- монтаж дверной коробки и направляющих;
- сборка дверного полотна;
- изготовление движущего механизма;
- установка ворот;
- монтаж системы противовесов.
Подготовительный этап
Для проведения монтажных работ потребуются следующие инструменты:
- сварочный аппарат;
- электродрель (перфоратор, шуруповерт);
- строительный уровень;
- рулетка;
- набор гаечных ключей;
- карандаш.
Для установки подъемного механизма следует приготовить:
- швеллеры и стальные уголки;
- противовесы (специальные для лифтов или чугунные болванки);
- кронштейны, уголки, металлические направляющие;
- пружины возвратного типа;
- стальной трос.
Также стоит подобрать уплотнительную ленту, которую прокладывают по всему периметру створки.
Для обшивки дверного полотна используйте металлический профлист. Он достаточно прочен, имеет малый вес и защиту от коррозии.
Монтаж дверной коробки и направляющих
Дверная коробка собирается из металлических уголков или деревянного бруса в форме буквы П. Нижнюю часть рамы необходимо заглубить в стяжку пола минимум на 2 см.
Далее монтируют направляющие шарниры. Под потолком устанавливают верхний кронштейн. Его крепят металлическими штырями в потолку. С помощью болтов на кронштейн укрепляют два шарнира.
Чтобы створку при движении не заклинивало, шарниры нужно устанавливать так, чтобы кронштейн двигался по ней свободно.
Монтаж механизма открывания
- дверного полотна, цельного или секционного;
- левой и правой стойки, которые управляют движением ворот по нужной траектории;
- двух противовесов, по одному с каждой стороны;
- устройства регулировки и фиксации стоек.
На дверную панель устанавливают 4 кронштейна с направляющими роликами-подшипниками. К нижним кронштейнам приваривают две детали для крепления троса противовеса с обеих сторон.
- стойка-швеллер, гнутая из оцинкованной стали в количестве 4 штук;
- дуга – выгнутые по шаблону две детали;
- внутренняя дуга, две детали;
- стальная пластина;
- установочный кронштейн, на каждую стойку по 3 штуки.
Собирать механизм следует в точном соответствии чертежам.
Собранная конструкция должна быть выполнена без малейших отклонений в плоскости дверного полотна и по расположению деталей, в противном случае возможно заклинивание при движении.
Сборка ворот
- Стойки устанавливают на место в дверной коробке. Выровнять их строго перпендикулярно друг другу.
- Отметить места для отверстий на потолке для установочных кронштейнов. Их должно быть 12.
- Отодвинуть стойку и просверлить отверстия по разметке. Установить в них дюбели.
- Вернуть стойку на место и укрепить потолочные кронштейны при помощи саморезов. До упора саморезы пока не закручивать;
- Еще раз выставить стойку перпендикулярно проему, затем затянуть саморезы окончательно.
- Приварить к стойкам упоры, которые будут регулировать и фиксировать расстояние между двумя стойками.
Затем все действия повторить для второй стойки. Все детали на нее следует устанавливать в зеркальном отражении к первой.
Между стойками устанавливают стяжку – металлический прут с резьбой на концах. При установке на прут наворачивают 4 гайки таким образом, чтобы они были расположены с обеих сторон упоров. Эта система позволит точно регулировать положение стоек и сохранять его долгое время.
Установка ворот с противовесами
- В створке просверлить отверстия для кронштейнов с роликами.
- Установить полотно между стойками.
- Поместить ролики в пазы стоек и зафиксировать их винтами.
- Собрать систему противовесов. Общий их вес должен быть равен весу ворот в сборе. Например, если створка весит 60 кг, каждый противовес должен весить 30 кг.
- Установить ручки, замки и прочую фурнитуру.
После того, как все действия будут выполнены, желательно прокрасить все торцы деталей из оцинкованной стали краской по металлу для внешних работ во избежание коррозии.
На этом этапе монтаж гаражных подъемных ворот можно считать законченным.
Как изготовить откидные ворота для гаража своими руками: чертежи, материалы
Технологии сегодня развиваются просто невероятными темпами, и далеко не всегда успеваешь отслеживать новинки. Все эти изменения касаются любой области, не обошли они и гаражные ворота. Еще несколько десятков лет назад самыми популярными считались распашные модели, но постепенно их сменили откатные, а после – подъемные. Если подробнее остановиться именно на последнем варианте, можно точно сказать, что именно они сегодня считаются одними из самых надежных. Воришки же считают непреступными их.
Откидные ворота для гаража каждый человек сможет изготовить самостоятельно
Одна из важнейших особенностей поворотных ворот в том, что они не требуют дополнительного места для открытия. Такое решение позволяет владельцу транспортного средства иметь огромную возможность для различных маневров, когда нужно поставить автомобиль в гараж. Несмотря на то, что большинство компаний предлагает огромный ассортимент моделей, многие жители страны стараются сделать поворотно-откидные ворота своими руками. Прежде всего, нужно понять технологический процесс изготовления, подготовить весь инструмент и пригласить помощника. Но какие типы подъемных ворот существуют?
Монтаж секционных ворот своими руками
Подготовка материалов
Перед тем как покупать материалы (чтобы их хватило и заказчик не купил лишнего), замеряют толщину стены и размеры проема.
Для работы потребуется несколько видов металлопроката:
- Уголок металлический с равными полками, 75 мм толщиной. Он необходим для изготовления створок ворот и обрамления проема.
- Уголок металлический с равными полками, 60 мм шириной. Его используют для изготовления раскосов.
- Металлический лист не менее 2 мм толщиной для обшивки полотен ворот.
- Цилиндрические навесы, предназначенные для наружного монтажа.
- Запоры для фиксации створок, 4 шт. Их можно изготовить из стального прута толщиной от 20 мм или приобрести готовые.
- Гаражные замки.
Сварочные работы в гараже
Соединения в виде металлических полос 10–15 см шириной нарезают заранее, такой же толщины, как пеноблок. Во время сваривания нужны разные подкладки и подставки. Следует держать поблизости обрезки труб, уголков и другого металлопроката.
Инструментов потребуется тоже немного:
- сварочный аппарат;
- болгарка;
- электродрель;
- различные струбцины;
- уровень, угольник и рулетка;
- пассатижи, молоток;
- сварочные электроды 3 мм диаметром, сверла и круги для резки металла.
Приварка петель
Чтобы вмонтировать замки, нужно подготовить крепежные элементы: гайки, болты и шайбы. По окончании работы нужно загрунтовать и покрасить изделие. Для этого потребуется состав ГФ-021 и эмаль (ПФ).




































